熱點新聞
聯系我們
地 址:無錫市濱湖區胡埭鎮鴻翔村環鎮西路
電 話:0510-85590929
傳 真:0510-85590456
網 址:www.drknp.com
郵 箱:sales@wxkeju.com
當前位置:閉式冷卻塔首頁 > 新聞中心
> 閉式冷卻塔工作原理
| 閉式冷卻塔工作原理 |
| 發布者:閉式冷卻塔 點擊:3832 |
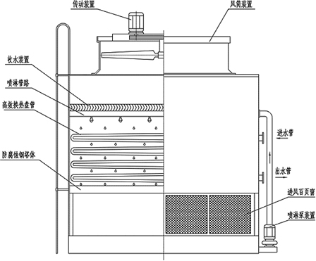
閉式冷卻塔工作原理 工作流體在密閉冷卻器中流動,冷卻器外壁被噴淋水包裹,流體的熱量通過管壁傳遞在冷卻器外表面形成飽和蒸汽,通過風機排出機體外部。大部分水蒸氣被收水裝置回收回來,重新凝結成水回到噴淋水槽。噴淋水槽上部添加的填料可以將噴淋水進行進一步降溫,進而提高內外水的溫降值,提高單柱液壓機冷卻效果,同時可以降低冷卻器外壁的結垢程度。 冷卻介質如果不是水或油,而是制冷劑以高溫氣態的形式進入冷卻器來進行換熱將氣態轉化為液態,冷卻原理相同,此時閉式冷卻塔應該叫蒸發式冷凝器。 要注意的是介質不能與冷卻器材料不能發生化學反應。 ![]() |
| 上一頁:混流式閉式冷卻塔的產品特點 下一頁:蒸發器和冷凝器分類及其計算書 |
![]() |





